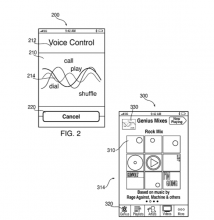
Apple files patent application to learn the sound of your voice
Apple, which recently filed a patent application for a technology to keep screens on mobile devices free of fingerprints, is upping the ante by filing for a new application that could keep you fingers from even touching the screen in the first place.
